形状・断面別!テーブルトップのガラスサイズ測り方
「テーブルトップガラスを注文したいのに、サイズの伝え方がわからない」とお悩みの方はいませんか?今回はテーブルの形状・断面ごとの採寸方法とオススメのガラスサイズをご紹介します。
この記事のポイント
- デーブルの形状ごとにガラスサイズの測り方が異なります
- テーブルの断面によってオススメのガラスサイズが異なります
形状別!テーブルトップの採寸方法
テーブルトップを製作する場合、お客様にテーブルのサイズを測っていただくことになります。採寸は写真のように、メジャーなどでお間違えの無いよう測ってくださいね。
テーブルの形状によっては測る箇所も違います。今回は、6つの形状別にまとめましたので、採寸の際にお役立てください!
テーブルの形状
- 長方形・正方形の場合
- 角に丸みがある場合
- 角をカットしてある場合
- 菱形・平行四辺形の場合
- 円形・楕円形の場合
- 複雑な形状の場合
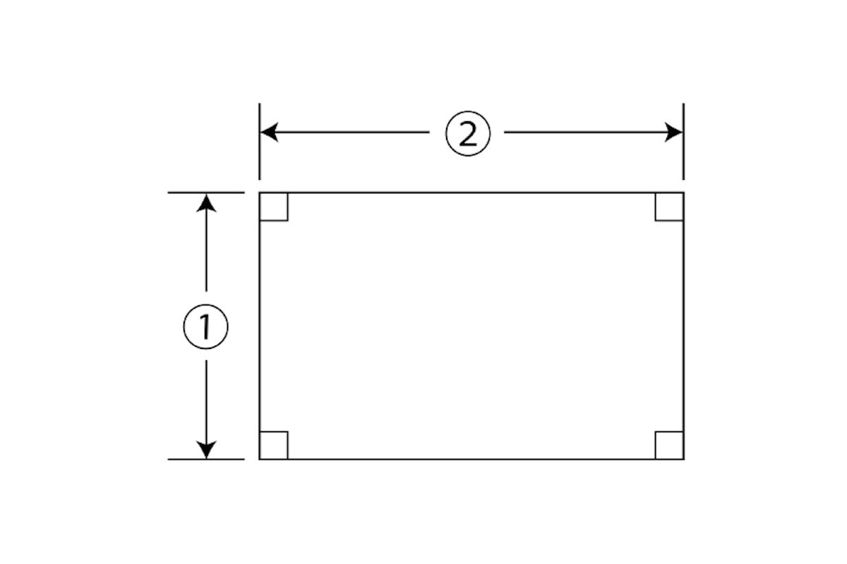
長方形・正方形の場合
長方形や正方形など、角が直角の形状の場合は短辺①と長辺②の長さを測ります。
角に丸みがある場合
角に丸みがある形状の場合、短辺①と長辺②の長さの他に、角のR③を測りましょう。
角Rとは?Rの測り方はこちら!
テーブルの「コーナーR」の測り方を教えてほしい
テーブルのコーナーRの測り方を写真付きで分かりやすく紹介しています。
角をカットしてある場合
角が直線的にカットされた形状の場合、短辺①と長辺②の長さ、それから切り落とされた箇所③、④を測ってください。
菱形・平行四辺形の場合
角が直角になっていない四角形の場合、短辺①と長辺②の長さだけではなく、2辺の間にある角度を分度器等で計測してください。
円形・楕円形の場合
円形の場合は直径①、楕円形の場合は短辺①と長辺②を測りましょう。
複雑な形状の場合
複雑な形状の場合、お客様に型紙をとってもらう必要があります。「型紙製作セット」もご用意していますので、お気軽にご利用ください。
型紙の取り方はこちら!
異形テーブル型紙の取り方
異形テーブルの型紙の取り方を写真・動画付きで詳しくご紹介します。
断面別!オススメのガラスサイズ
テーブルとガラスのサイズを合わせる
断面が角ばっている場合は、テーブルとガラスのサイズを合わせた方が良い仕上がりになります。
テーブルよりガラスをひと回り小さくする
丸みがある断面の場合は、ガラスをひと回り小さくすることで、ちょうど良いサイズになりますよ。
テーブルの平面部とガラスのサイズを合わせる
段掘りなどの装飾がされているテーブルは、平面部のサイズに合わせるのがオススメです。
「テーブルトップ」についてお気軽にご連絡ください!
いかがでしたでしょうか?今回はテーブルトップのガラスサイズの測り方についてご紹介いたしました。ガラスのテーブルトップはテーブルをキズや汚れから守るだけでなく、高級感をUPさせてくれます。
ご自宅のテーブルにピッタリのテーブルトップをオーダーメイドで製作してみませんか?採寸について、ご不安な方はお気軽にご相談ください。ガラスの専門スタッフが丁寧に対応させていただきます。
当店で販売しているテーブルマットの天板
…
テーブルトップのことがわかるページ一覧
テーブルの保護に使うガラス、アクリル、ビニールマットなど、それらの選び方や、お客様からよくあるご相談内容、お客様のご注文事例などを別途ページでまとめておりますので、ご覧ください。
…














